Ophtec, the Netherlands
First pioneered by English ophthalmologist Sir Nicholas Harold Lloyd Ridley, surgically implantable artificial intraocular lenses (IOL) have been used extensively since the late 1940s to help improve vision in patients that have had cataracts (clouding of the natural lens in the eye) removed. Treatment of severe cataracts generally requires the removal of all or part of the cloudy lens, which is known as aphakia (Latin for “no lenses”). Aphakic patients have limited vision and extreme difficulty focusing at near and far distances.

The advancement of IOLs allows these patients to regain most of what was lost. Although IOLs were at first only used to treat aphakic patients, a breakthrough came in 1970 when Dr. Jan Worst, a surgeon and senior ophthalmologist at the Ophthalmological Medical Center North (OMCN) in Groningen, the Kingdom of the Netherlands (the Netherlands), developed an IOL that could also be used in phakic (Latin for “with lenses”) patients. Implemented along with an intact human lens, Dr. Worst started a company – Ophtec BV (Ophtec) – to commercialize the lens, and it has become an effective and popular alternative treatment for severe nearsightedness, farsightedness, presbyopia (the loss of the ability to focus), aphakia, and astigmatism (blurred vision).
Research and development
In the 1960s, Dr. Worst was treating cataract patients at OMCN and was looking for a way to restore vision after the natural lens was removed. His initial research and development (R&D) turned to the angle-fixated IOLs that were developed in the 1950s to correct extreme cases of myopia (nearsightedness). Intrigued by their potential, Dr. Worst believed that these artificial lenses could be used in place of the natural human lens.
Although angle-fixated lenses met with some success in treating severe myopia, Dr. Worst found that they had numerous and serious complications. Many patients lost vital cells in the corneal endothelium (a single layer of cells on the inner surface of the cornea) and suffered from hyphema (blood in the front chamber of the eye). In addition, these types of IOLs are always in contact with the tissue of the front chamber of the eye, which can lead to unforeseen complications, such as becoming loose. Dr. Worst therefore concluded that angle-fixated IOLs were therefore not a viable solution for aphakic patients.
In the late 1960s, Dr. Worst came across a lens developed by Dr. Cornelius Binkhorst that stayed in place through affixation to the pupil. Using the Binkhorst lens as inspiration, he devised a new IOL that could be attached directly to the iris (the colored portion of the eye surrounding the black pupil) with a stitch, which negated the need for chronic eye drop use, provided firm support, and would not adversely affect pupil movement. After developing several different prototypes, he refined his invention to use a clasp instead of a stitch for iris affixation, and his new IOL became known as the “Iris Claw” lens, which clamps to the iris with two clasping arms (or “claws”) without interfering with its mechanical function or pupil dilation. In 1970, Dr. Worst demonstrated his IOL for aphakia at an ophthalmic meeting in Paris, but it was met with skepticism.

lens in the late 1970s
In 1978, Dr. Worst successfully developed and produced the Iris Claw IOL and the necessary tools and method for surgical transplantation. Shortly thereafter, he launched a program to use the Iris Claw lens to correct aphakia in patients following cataract surgery in rural regions of the Republic of India (India) and the Islamic Republic of Pakistan (Pakistan). Building on the success of this program, Dr. Worst realized that if the Iris Claw lens worked so well in aphakic patients, it could also work well in phakic patients.
In 1980, he developed an improved opaque version of the lens, which he implanted into a patient suffering from double vision. This new opaque lens served as the foundation for the first Iris Claw lens specifically made with phakic patients in mind. Collaborating with Dr. Paul Fechner from Germany, the doctor and inventor improved the design and eventually developed a bioconcave (concave on both sides) IOL that attaches to the iris and can be used in both aphakic and phakic patients. This improved Iris Claw lens also became known as the “Worst-Fechner” lens.
Dr. Worst developed a modified version of the Iris Claw lens in 1986 to correct severe myopia in phakic patients, and that same year the first successful implantation was performed to correct this condition. More extensive R&D into other uses for the lens ensued, and that same year a five-year feasibility study in Europe was launched. Further modifications were incorporated into Dr. Worst’s Iris Claw lens, which resulted in the development of a convex-concave (convex on one side and concave on the other) Iris Claw IOL in 1991. Because the convex-concave shape is one of the most effective shapes for correction of a multitude of refraction errors (and is commonly used in glasses and contact lenses), the new Iris Claw lens could be used to correct both nearsightedness and farsightedness in phakic patients. In 1992, this lens was used in the first successful implantation in a phakic patient to correct farsightedness.
While the fundamental invention has remained the same throughout the various stages of R&D, Ophtec continues to research new uses for the Iris Claw lens and develop improved variations. In 1996 and again in 1999, the company further refined it in order for the lens to be used to correct presbyopia, and in 2003 a flexible and foldable Iris Claw lens was developed. In 2006, Ophtec developed the toric (a term to describe a lens that is a combination of a sphere and a cylinder) Iris Claw lens, which can be used to correct farsightedness and astigmatism.
Invention
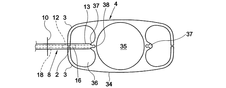
Dr. Worst first invented his unique IOL with aphakic patients in mind; however, he soon realized that the lens would also be suitable for phakic patients. The invention has two unique properties which allow it to achieve this, the first of which is its shape. The inner curvature of Dr. Worst’s IOL is convex while the outer curvature is concave, and the entire lens has a specific geometrical shape that is made to conform to the shape of the eye. The lens is adapted to the anatomy and physiology of the cornea, the iris, and the aqueous nature of the pupil area, which guarantees a safe clearance between the lens and all vital structures in the eye.
Two flexible pincer arms (the “claws”) make up the second and most important unique property, as they are the support portion of the lens and keep it firmly in place centered above the pupil. The two arms can be placed either symmetrically or asymmetrically, which ensures that the lens can be safely attached in the most optimal manner either on top of or underneath the iris. Prior to Dr. Worst’s invention, IOLs were not attached to the iris and thus were not suitable for phakic patients. Because of these two properties, the invention ensures full pupil motility (the ability to move spontaneously and actively, consuming energy in the process) and prevents decentration (blurred vision, ghosting and glare). The lens’s unique shape also provides natural outflow of aqueous humour (a watery substance filling the space between the lens and the iris) through the pupil area, which is essential for the maintenance of eye health.
To ensure proper movement of the pincers, a thin lens, optimal distance between the IOL and the corneal endothelium (a layer of cells in the inner surface of the cornea that is required for optical transparency), and a high refractive index (the measurement of focusing power), all parts of the invention are made with sterilized, clinical quality plastics such as polymethylmethacrylate (a light, transparent, shatter-resistant plastic) or polycarbonate (a common polymer). Although the invention involves a surgical procedure, it only requires a single, small incision into the cornea of each eye through which the IOL is implanted. For phakic patients, the lens is implanted between the natural lens and the iris. In the case of aphakic patients, it is generally implanted underneath the iris. The entire procedure is done on an outpatient basis under local or general anesthesia and takes approximately one hour to complete. Recovery time is generally very quick, with most people returning to their normal activities within a few days.

Safe and effective, Dr. Worst’s invention is not only suitable for restoring lost vision and focusing power in aphakic patients, but can also reduce or eliminate nearsightedness and farsightedness ranging from -5 to -20 diopters (a unit of measurement of the optical power of a lens) in patients aged 21 and over who are tired of thick glasses and are not candidates for contact lenses or LASIK (laser-assisted in situ keratomileusis, a surgery which uses lasers to correct refractive errors). The Iris Claw lens also holds a number of significant advantages over LASIK treatment, one of which is its reversible nature. Once the lens is removed, the eye goes back to its original state, which is something that is impossible to achieve with LASIK as a layer of the cornea is removed by the laser. Using an Iris Claw IOL instead of LASIK ensures that the central cornea remains intact and therefore so does visual acuity. Moreover, it can be used to treat extreme cases of nearsightedness or farsightedness, which LASIK cannot.
Commercialization
The skepticism that Dr. Worst’s invention was met with when it was first shown in 1970 resulted in an uphill battle for commercialization. As the Iris Claw IOL was continually improved upon and successfully implanted in a number of patients throughout the 1970s, interest started to take off. “We had held fast, stuck to our guns, and revealed ourselves when the whole concept of lens implantation really began to boom,” explained Dr. Worst. An important boost came in 1976, when he received the prestigious Binkhorst Award from the American Intraocular Implant Society (later renamed the American Society of Cataract and Refractive Surgery) for his innovative work on the Iris Claw IOL.
Recognizing the need to generate further interest in the Iris Claw IOL and desiring to show the world the benefits artificial lenses could offer, in 1978 Dr. Worst launched a campaign to use his invention to help people in developing countries that were suffering from blindness due to cataract surgery. To that end, along with his wife he formed the Jan Worst Research Group (JWRG), which provided free surgical services for Iris Claw IOL implantation in rural villages in developing countries. From 1978 to 2001, JWRG provided Iris Claw IOL implants to over tens of thousands of aphakic patients in India, the Federal Democratic Republic of Nepal (Nepal), and Pakistan. The Group also developed simple, small, and effective tools for cataract surgery that can easily be taken and used in rural locations that may lack adequate medical infrastructure.
By the early 1980s, Dr. Worst’s efforts paid off and his Iris Claw IOL caught the attention of the ophthalmic industry. Taking advantage of this opportunity, Dr. Worst and his wife began working on the large scale promotion and manufacturing of the Iris Claw IOL. In 1983, the couple established Ophtec, a privately held ophthalmic medical device company focused on IOL R&D, manufacturing and marketing. “She was the brains behind the whole commercial aspect of the lens,” said Dr. Worst, explaining his wife’s pivotal role in commercialization. “She propelled it into the next century.” With a company and strong interest in the Iris Claw IOL firmly established, through Ophtec Dr. Worst was able to successfully launch and market his invention in Europe in 1990. In 1997, the company began clinical studies of the invention in the United States of America (USA), which concluded in 2003. Over 1,000 Artisan lenses were implanted during this time in over 500 patients, and over 84% of them achieved 20/40 vision (a near perfect level, and that which is required to drive an automobile without corrective lenses in most countries) or better without the use of glasses or contact lenses. As a result of this success, the Iris Claw lens earned approval from the Federal Drug Administration (FDA) of the USA in 2004.

Following the FDA approval in the USA, the company’s North American branch, Ophtec USA Inc. (Ophtec USA), entered into commercialization agreements with Advanced Medical Optics Inc. (AMO), a major ophthalmic company based in the USA, for the commercialization of Ophtec’s original Iris Claw IOL and its enhanced flexible and foldable Iris Claw lens. Under the terms of the agreements (one for each lens type), both companies continue to improve the design of the IOLs and also develop compatible insertion systems for use in surgery. Both companies also share responsibility for implementing the necessary clinical trials in the USA and for submitting any new developments to the FDA for approval prior to marketing. Once a new IOL receives FDA approval, AMO has exclusive rights for distribution of the lenses in the USA and Japan, and can also market them in Europe. In February 2009, Abbott Laboratories (Abbott), a major international pharmaceutical company headquartered in the USA, acquired AMO, which became a wholly owned subsidiary of Abbott and was renamed Abbott Medical Optics Inc. (Abbott Medical). Abbott Medical continues to develop and commercialize the Iris Claw lenses under the terms of the commercialization agreements.
In September 2011, in addition to its head offices in Groningen, the Netherlands, Ophtec expanded further into Europe and opened a subsidiary – Ophtec GmbH – in the Federal Republic of Germany. By 2012, the company has offices in Hong Kong, Japan, the Kingdom of Spain, the Republic of South Africa, and the USA, and its network of distributors sells Ophtec products in over fifty countries. The company continues to expand on its long tradition of providing proprietary, high quality intraocular lenses and a complete line of ophthalmic surgical devices for cataract, refractive, and trauma surgery.
Branding
In line with naming conventions of the time, Dr. Worst’s IOL was initially dubbed the “Worst Lens” among the ophthalmic community. Aware that such a name could possibly hold a negative connotation and cause confusion among patients, Dr. Worst renamed his invention the “Iris Claw” lens in 1978. As R&D continued and the lens was improved and modified, various versions of it were made and by the mid 1980s the Iris Claw lens was no longer synonymous with aphakia. When the lens was improved in 1986 to help correct myopia in phakic patients, Ophtec realized that a differentiating name was necessary. The company therefore changed the name to the Artisan lens, and it continues to be marketed under that name in Europe and most other regions. The flexible and foldable version of the Iris Claw lens is marketed under the Artiflex name. Due to the commercialization agreement between Ophtec and Abbott Medical regarding intellectual property (IP) concerns such as preciously registered trademarks, the lens is marketed under the name Verisyse in the USA. Per the terms of the commercialization agreement between Ophtec and Abbott Medical, the flexible and foldable version of the Artisan lens is to be marketed under the name Veriflex. As of mid 2012, Veriflex is in the enrollment phase of an FDA study.
Patents and trademarks
Anticipating the successful commercialization of his invention, Dr. Worst has made prodigious and strategic use of the IP system. In September 1978, he filed a patent application for his aphakic Iris Claw IOL with the United States Patent and Trademark Office (USPTO) of the USA and also with the Canadian Intellectual Property Office (CIPO) of Canada. The USPTO patent application was approved in August 1980 and the CIPO application was approved in November 1982. These applications were followed up with another USPTO application for the phakic Iris Claw IOL in May 1991, which was approved in March 1993.

In order to maintain a competitive edge and increase the commercialization potential of the phakic Iris Claw lens, in May 1991 Dr. Worst filed an international application using the Patent Cooperation Treaty (PCT) system, which was granted in Europe by the European Patent Office (EPO) in 1996. In January 2003, Ophtech utilized the PCT system again to file an international application for the specific method to insert a phakic or aphakic Iris Claw IOL into the eye. Later that same year, the company made another PCT application for the instruments used to fixate an IOL to the iris.
Securing trademarks was an equally important IP right (IPR) for Dr. Worst and his company, as they helped build a strong brand name for the invention. Shortly after the Artisan name was chosen, Ophtec applied for a trademark using the international Madrid system, and it was registered in July 1998. The company also used the Madrid system to make an application for Artiflex, which was registered in November 2001. Ophtec’s distributors have also recognized the importance of building strong brands, and as such AMO applied for trademarks for Verisyse and Veriflex with the USPTO in April 2002 and April 2008, respectively. The Verisyse trademark was registered in April 2005 and Veriflex was registered in November 2008.
Business results
The Artisan phakic IOL has been used safely and successfully in hundreds of thousands of patients throughout the world, and is giving people a real chance to see clearly again. A number of scientific studies (such as a 2003 study published in the American Journal of Ophthalmology) have shown superior visual results and contrast sensitivity with Ophtec’s Iris Claw lenses when compared to other phakic IOL types. The lens has been particularly successful in correcting myopia, with a success rate of over ninety percent.
With a solid IP portfolio, Ophtec has been able to go beyond the Netherlands and secure lucrative commercialization and distribution agreements in most of the world’s largest markets. As a result, phakic IOLs and the Artisan Iris Claw lens in particular have become a popular choice among ophthalmologists worldwide, and Ophtec continues to pioneer new IOL developments. In 2012, the company celebrated the 25th anniversary of the first implantation of the Artisan lens for myopia. Because of its high success rate, Dr. Worst’s invention has earned a reputation for safety and effectiveness, and is considered to be one of the most desirable treatment options for people suffering from severe refraction disorders.

Clasping on to innovation and sight
Early innovators of IOLs like Dr. Worst faced extremely harsh criticism for what was then viewed as a radical and unorthodox treatment. If it were not for the doctor’s perseverance in the development of the Iris Claw lens, the hundreds of thousands of people helped by it – many of whom had no other choices available – would have been left to live with severe refraction errors or with nearly no sight at all. Through constantly refining the Iris Claw lens, Dr. Worst and Ophtec have fused patented technology with a strong brand name to help people see the world more clearly, without the need of glasses, contact lenses, or LASIK surgery.