Enviro Options Pty Ltd, South Africa
Brian La Trobe is an inventor, scientist and social innovator who co-founded Enviro Options Pty Ltd (EO) in 1993 in Johannesburg, the largest city in the Republic of South Africa (South Africa). EO develops cost effective and hygienic waterless sanitation systems (or toilets) known as the Enviro LOO.

Because the company’s self-contained product is low cost, efficient, sanitary and environmentally sustainable, it is reaping tremendous financial reward, conserving the environment and beginning to provide life-saving sanitation to some of the three billion people around the world who live without affordable and sanitary waste disposal systems.
Invention
EO was established following Dr. la Trobe’s invention of the Enviro LOO. Qualified in chemistry and dentistry and having experience developing government and university programs related to water sanitation in South Africa in the 1980s, the scientist relied on his expertise to invent the Enviro LOO – a self-contained vault or “drop” toilet with an imaginative system for human waste treatment and disposal.
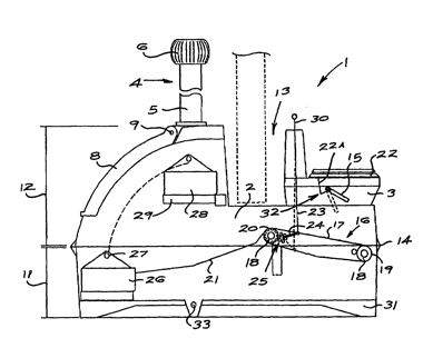
The Enviro LOO system works through an ingenious method of sequestering human waste and rendering it stable and odorless by drying and evaporating it through the use of solar energy, wind power and enzymes. As solid waste drops through a ceramic toilet bowl, it is aerated and finally comes to rest on a perforated drying tray or plate (covered with enzymes for decomposition). Beneath the plate or tray, which is the width and length of a black polyethylene sheet surrounding the vault, there is a separate unit or tank where liquid waste is filtered through and collected.
The liquid is evaporated through exposure to both heat from the sun – which warms the entire unit even on cold or cloudy days via ambient heat – and the draft from wind – drawn in through the toilet bowl and via air intake pipes in the roof of the toilet housing. The result is an effective cyclical convective process where hot air lifts and extracts the vaporized liquid waste through an air driven exhaust turbine situated atop an exhaust pipe at roof level. Indeed, Enviro LOOs evaporate liquids at a rate of one gallon a day (the equivalent of 15-20 uses) on average.
The same cyclical process aerates and dehydrates solid waste which, in conjunction with enzymes on the drying plate (which facilitate decomposition of the waste and are contained in sachets introduced via the toilet bowl), is reduced to less than 10% of its original mass, thus rendering it dry and stable. Thereafter, the dehydrated and lightened waste slides down into one half of the porous tray – which is slanted and faces the rear end of the unit – and can subsequently be brushed (every six months) into a collecting bag (which is emptied every two years) that hangs inside the unit. Each unit has a separate access hatch to pump out excess liquid and a maximum capacity of 680 liters.
EO’s sanitary toilet is versatile and has health, environmental and economic advantages. Indeed, negative pressure in the vault prevents the escape of any odor or dirty air back up through the toilet bowl and into the toilet. Instead, dirty air is sucked up through one-way air inlet pipes and safely vented out of the toilet through a wind powered extractor.
In addition, the Enviro LOO is non-flush and uses no water or chemical detergents. The unit produces no discharge; does not contaminate ground water (such as wells or streams); does not require electricity; is easy to install; can be used in various terrains (such as hills, mountains and flat places); and has the ability to function in cold environments (below zero degrees centigrade).
Through the power of the sun, wind and via natural biological agents, Dr. la Trobe’s Enviro LOO system has created a safe and user-friendly environment where human waste can be stabilized and disposed of at low cost and without damaging health or contaminating the environment.

Research and development
Motivated by a desire to overcome the prevailing challenges in waste management systems in South Africa (which relied on unsanitary options including pit latrines or buckets and thus contributed to spreading diseases), in 1985 Dr. La Trobe began research and development (R&D) into waterless and dry sanitation units.
Such units, moreover, would rely on forced airing methods (which acts as a deodorizer) of compost using microbiological filters – or aerobic bacteria which speed up the decomposition process, thus neutralizing pathogenic bacteria without using artificial chemicals.
To further this R&D process, the inventor co-established EO with family and friends including Mark la Trobe, who became the Managing Director of EO, and Andrew Moorcroft, who became Financial Director of the company. With the scientist in charge of R&D and other partners providing financial and managerial support, EO began investigations into creating the EnviroLOO.
Early prototypes of the units and its auxiliary parts were built and tested, and with improved modifications (such as making the product with polyethylene plastics based on steel moulds and incorporating anti-bacterial agents in the holding tray), the systems were distributed for field tests throughout the country.
Monitored over a five year period beginning in 1993, the prototypes were not only assessed for effectiveness under various temperature conditions; their health and environmental impacts were also measured through user feedback based on community surveys. Having successfully completed field tests and data collation, the company had a prototype ready to begin production in 1998.
Because the units are manufactured through a roto-molding process (or rotational molding, a process for creating hollow, plastic moulds) and in double molds, the time cycle for completing a product is speeded up (it takes 45 minutes to build one unit) and the system can be divided, trimmed and stacked before delivery for assembly at various sites. Through this method, both time and cost savings can be attained.
From its headquarters in Johannesburg, EO has successfully tested and produced dry, waterless, sanitary and cost-effective Enviro LOO systems that are conserving the environment, preserving scarce resources such as water and providing dignified human waste facilities throughout South Africa and, increasingly, internationally.
Commercialization
In order to commercialize its products, EO has collaborated with local governments, international agencies and industry while producing several models based on quality and cost-efficiency.
The company’s earliest marketing strategy focused on raising awareness of its products with governmental departments in South Africa. Working with local government, the company not only ensured that its products were adopted but also provided training to locally recruited workers in order to maintain the units. Once EO’s products were incorporated into municipal parks and public and private housing in the country, the company turned its focus to the international market.
Via academic presentations in international conferences on waste management and by launching a company website highlighting its products, EO was able to raise consciousness on sanitation and disease and the solutions provided by the Enviro LOO system. Through such methods, the company ensured its products caught the attention of prospective customers including multi-national aid agencies, non-governmental organizations (NGOs), conservation institutions and private housing developers across the world.
Apart from marketing to governments and NGOs, the company also creates several models of the Enviro LOO in order to maintain its competitive advantage and increase its customer base. EO manufactures a range of waterless composting toilets including the BP1040 model (a high usage unit made for schools, clinics and public toilets); the C2020 Model (an intermediate communal unit suitable for open spaces such as parks, beaches and tourist locations); the D2010 model (for domestic use in domiciles not exceeding ten people); and the Urinal Evaporative tank (a product that is suitable for parks, schools and other high footfall places including mines, beaches and campsites).
By creating a variety of models and marketing strategies targeted at governmental and non-governmental sectors, the company has been able to commercialize its products both at home and abroad.
Patents and trademarks

assets and establish a distinguishable corporate identity, EO is a
prodigious user of the IP system
In order to successfully commercialize its invention, protect its intellectual property (IP) assets and establish a distinguishable corporate identity, the company has been a prodigious user of the IP system.
Dr. La Trobe filed several applications for a toilet (1993, 1994, 1995, 1996, 1997), a urinal (1996, 1997, 1998), an aerobic digestion toilet (1997, 1998, 1999, 2002, 2005), mobile toilets (1998) and an evaporation unit (2002, 2003) via South Africa’s IP office – the Companies and Intellectual Property Commission.
The inventor, moreover, filed an international patent application for an aerobic digestion toilet (2002) using the Patent Cooperation Treaty (PCT) System managed by the World Intellectual Property Organization (WIPO).
In order to protect the good name of its leading brand, furthermore, the company filed a trademark for Enviro LOO (2007) in one of its most lucrative markets, the United States of America (USA), at the United States Patent and Trademark Office. The trademark was registered in 2011. In addition, EO filed a trademark for Enviro LOO (2008) in another key market, the European Union (EU), at the Office for Harmonization in the Internal Market.
With a robust IP strategy combining over 64 patents around the world (as of 2012) and trademark registrations for its leading product in key markets, the company has been able to expand unencumbered internationally.
Licensing
EO has bolstered its international export and manufacturing output by entering licensing agreements with industry partners in several countries. Because the company frequently engages in projects with an emphasis on local job creation within the public sector, EO believes that its international growth will be best served by entering licensing agreements for manufacturing and marketing with local firms.
Indeed, focusing on the technological aspects of production in its South African headquarters, the company has not sought to market its products internationally by itself. Instead, EO has sub-contracted manufacturing, marketing and distribution to local licensees.
Such agreements typically include an upfront fee received by EO in order to cover the costs of production and training of local maintenance workers, and for generating capital for the company that is reinvested in creating new products. In addition, the company uses its licensing fees to finance a minimum level of service provision (by providing product maintenance training, for example) from EO to clients.
Royalty payments to EO are included in the license agreement and are received on sales revenue. The licenses also obligate both parties to maximize sales of the company’s product. Typical licensees have manufacturing experience, are based in the construction industry and/or have government contacts and a good market profile.
Through licensing, the company has contracted distributors in over 30 countries around the world including: Enviro Resources, in the Kingdom of Bahrain; Frenz Ltd, in the Federal Republic of Nigeria; Southwest Septic Inc. and Clean Up America Inc., in the USA; and Flo-Tek Angola, in the Republic of Angola.
Manufacturing licenses have also been agreed with companies such as Southwest Septic Loo, Inc. (SWSLoo), a company based in Elgin, the state of Texas, USA that has produced and distributed a wide range of EO products in America. SWSLoo, for instance, has manufactured Enviro LOO models known as ELOO® including SWS-2040 (a commercial model that can service 60 uses per day) and SWS-2010 (a residential model that services 30-40 uses per day).
By entering licensing agreements with distributors and manufacturers around the world, EO has been able to focus on product development at home whilst permitting other companies to market and commercialize its creations internationally.
Environment and public health
Clean water for drinking, cooking and other purposes is a necessity of life free from water-borne disease. The World Water Forum (an international forum held every three years that discusses global water concerns) estimates, however, that with human water consumption rising six-fold in the past century, by the 2030s people living within the Middle East, Southern Africa and parts of Asia will not have enough clean water to meet sanitation needs.

supplies from contamination; they are saving lives and bringing
dignified living conditions to scores of people around the world
Moreover, a further twenty-four countries, mainly in sub-Saharan Africa, are classified as having “economic water scarcity.” Furthermore, according to the World Resources Institute, an environmental think tank based in Washington, District of Columbia, USA, 95 % of all sewage produced in developing countries is discharged raw into nearby water sources such as rivers and streams.
Given that 1 gram (g) of solid human waste can contain 10 million viruses, 1 million bacteria and 100 worm eggs, the upshot for people living in fresh water contaminated regions of the world is that already diminishing clean water resources have often became sources for spreading water-borne diseases (known as the silent killer).
Indeed, the World Health Organization, a specialized United Nations agency with a mandate for health issues, has approximated that 4 million children (one every eight seconds) die annually due to water-borne illnesses and 3 billion people around the world live without basic sanitation (in 1996).
Motivated to tackle these environmental and public health challenges, EO has emphasized the sanitary credentials of its products as a means to help reduce needless deaths, improve health and safeguard the environment. Indeed, whilst the average person expends 4,000 liters of water to wash away 49 liters of solid waste and 492 liters of liquid waste annually, the Enviro LOO flush-and-forget waterless system saves water while ensuring health.
Water contamination through the wide use of pit latrines and other septic systems (which are often prone to flooding and thereby polluting groundwater), in addition, can be avoided because EO’s self-contained units are chemical free and can reduce waste to a germ-less and dry solid that is easily disposable.
The Enviro LOO, furthermore, offers greater sustainability than many prevailing sanitation methods because the product uses no electricity while being highly mobile. Also, the waste contained by such a unit (including used toilet paper which breaks down in the composting process) can be used as compost or fertilizer in crop farming.
EnviroLOOs, finally, have minimal operational costs (no expenses required in waste treatment, for instance) and can be adapted to accommodate cultural and religious concerns (the units can have built-in running water, such as a bidet, for religion-based sanitation practices).
By providing an adaptable, sustainable, affordable and zero discharge system that is also odorless and sanitary, EO has helped to tackle incidents of water-borne illnesses, improve sanitation and help to safeguard the environment whilst ensuring clean water resource for some of the most vulnerable people around the world.
Business results
Since its invention, Enviro LOO sanitation systems have become an award-winning global success and have captured an ever increasing market share in the safe waste disposal sector.
In recognition of the impact Dr. la Trobe’s invention has had, the product has won many prestigious awards including the Terra Nova award for Land (1992); the Certificate of Award from the World Environmental Federation Biological Malodorous Filtration System (1995); the Top Technology 100 award in South Africa (1997); the Gold Award for the best Innovation and Contribution to Health Care in Africa by the Organization of African Union and WIPO (1997); the Greening the Future award (1998); the Intel Environment Award (2005); and the US Tech Award of Innovation (2008) for “technology benefitting humanity.”
Not only winning awards, Enviro LOOs have received wide acceptance and are a common feature in the fight against water-borne diseases. The Department of Education and the Department of Health in the Limpopo province of South Africa, for example, have purchased the units for use in provincial schools and clinics.
After establishing a firm presence in South Africa, EO has grown internationally both within the private and public sector. The company’s products have been purchased by major organizations and cities including the World Bank, an international finance organization, and Accra, the largest city in the Republic of Ghana. The company has also expanded and opened a subsidiary in Australia (Modus Australia, which distributes EO’s products in that country) and entered several licensing agreements with other entities such as governments.

By 2012, EO’s products sold from US$ 2,960, depending on the model. In the same year, over 50,000 units had been sold around the world to several countries and regions including the EU, the Middle East, South and Central America and the USA. The company’s products have been used worldwide in a number of locations such as the beaches of the Hellenic Republic, the Kruger National Park in South Africa, and other tourist locations, cities and rural areas.
Dr. la Trobe, meanwhile, has been recognized by his peers in the industry via an award by the New York Academy of Sciences for Recognition of Contribution to Society (1997).
Evaporating a silent killer
In a quest to reduce water-borne infections while bringing dignity to millions of people around the world without access to sanitary toilet facilities, Dr. la Trobe invented a cost-effective, safe and environmentally sustainable system for sanitation.
Having established a robust IP strategy to protect the Enviro LOO, the scientist successfully entered international licensing agreements that marketed and produced his invention globally.
EO’s award-winning units are not only saving scarce freshwater supplies from contamination; they are saving lives and bringing dignified living conditions to scores of people around the world.